关怀版
无障碍
无障碍
信丰县人民政府
您当前所在位置: 首页 > 法定主动公开内容 > 重点领域 > 监管信息 > 食品药品监管 >
结果公示
索 引 号:
文件编号:
分 类:
生成日期:
2024-06-27
公开方式:
公开时限:
公开范围:
责任部门:
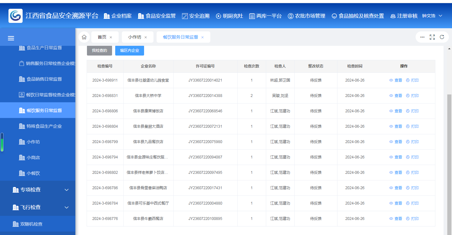
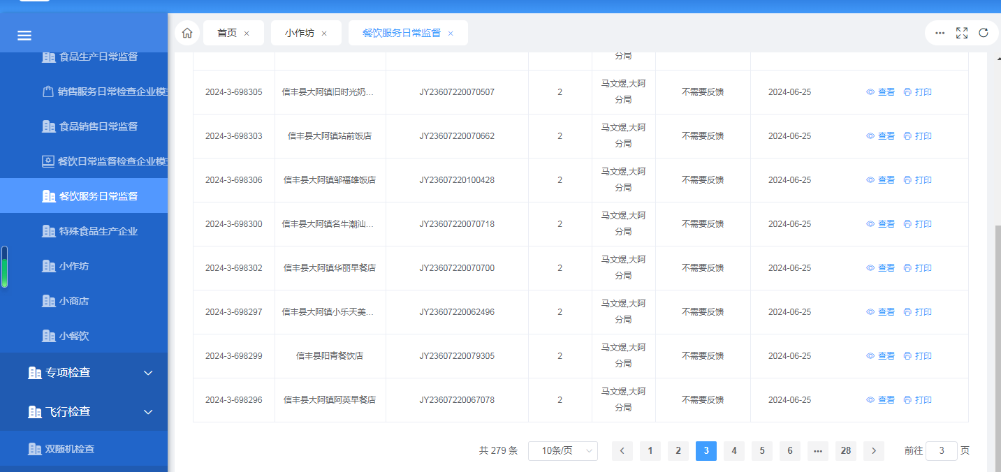
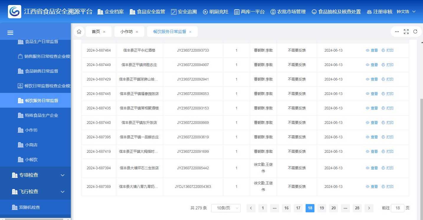
(检查结果)信丰县市场监督管理局6月份餐饮服务日常监督情况
访问量: